Operation Disclosure |By Editor
2020年9月22日
Articles-September 22[11]
—
How You Can Be 100%Certain That QAnon Is Bullsh*t
你怎么能100%确定 QAnon 是胡说八道
https://thefreedomarticles.com/how-you-can-be-certain-q-anon-is-bullshit/
This is a May 2019 article from Caitlin,still very relevant today
这是凯特琳2019年5月的一篇文章,今天仍然非常相关
—
The New War on Bioterror:Everyone is a Suspected or Asymptomatic Carrier 新一轮反生物恐怖战争:每个人都是嫌疑犯或带原者
https://thefreedomarticles.com/new-war-on-bioterror-everyone-suspected-carrier/
—
Netflix Subscription Cancellations Soar After'Cuties'Controversy
Netflix事件引发争议后,网飞取消订阅数量飙升
https://stillnessinthestorm.com/2020/09/netflix-subscription-cancellations-soar-after-cuties-controversy/
—
All Passengers on Epstein's Flight Logs to Be Named–Epstein's Rich and Famous Pals Panicking
爱泼斯坦的飞行日志上的所有乘客都将被命名——爱泼斯坦的有钱名流朋友惊慌失措
—
FBI Agent Who Uncovered Weiner Laptop with Hillary's Emails says FBI Leadership Told Him to Erase All of His Findings
美国联邦调查局特工发现韦纳笔记本电脑和希拉里的电子邮件,称联邦调查局领导要求他删除所有调查结果
—
The Locations And Names Of The Top 100 People Destroying The Planet
100个毁灭地球的人的位置和名字
https://www.anonews.co/the-locations-and-names/
—
Visualizing The State Of Democracy,By Country
按国家可视化民主状况
https://www.zerohedge.com/geopolitical/visualizing-state-democracy-country
—
Central Banks Out of Control
https://www.zerohedge.com/news/2020-09-22/out-control
—
Virginia Livingston,MD
弗吉尼亚·利文斯顿,医学博士
Cancer Quack Or Medical Genius?
癌症庸医还是医学天才?
https://rense.com/general72/cancer.htm
http://caonline.amcancersoc.org/cgi/reprint/40/2/103
http://www.joimr.org/phorum/read.php?f=2&i=50&t=50
—
Renewable Energy Production-Nano-Carbon Plasma Power Generator
可再生能源生产-纳米碳等离子体发电机
US20140126679
Renewable Energy Production Process with a Device Featuring Resonant Nano-Dust Plasma,a Cavity Resonator and an Acoustic Resonator
以共振纳米粉尘等离子体、谐振腔和声谐振腔为特征的可再生能源生产过程
Abstract
摘要
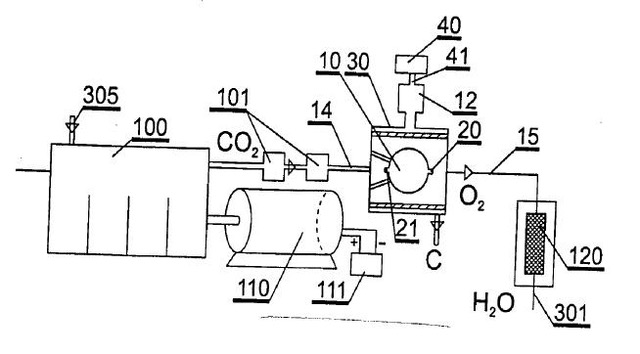
The invention is a renewable energy production process with resonant nano-dust plasma,with the application of a cavity resonator and an acoustic resonator.During the process the acoustic resonator is placed inside the cavity resonator,and create a series of acoustic resonances with a complex plasma made of sub-micron sized carbon dust,hydrogen isotopes and other gases between 10 Pa and 500 kPa at about 2.000°C.,thus creating oscillations and thus plasmon polaritons on the surface of carbon dust particles oscillating between 10 kHz-5 GHz and in the terahertz range,which in turn produces heat or electric energy,or creates a series of nuclear transmutations.The invention is an embodiment producing renewable heat,formed by a cavity resonator(30)excited by electromagnetic fields,and an acoustic resonator(10).In the acoustic resonator(10)operated with a number of acoustic resonances,there are nano-sized dust particles(1).The electromagnetic cavity resonator(30)is cylindrical,spherical or rectangular with mirror-like internal walls(31),inside of which the cylindrical or spherical acoustic resonator(10)suitably made of heat resistant and electrically insulating material is mounted.
本发明是一种利用共振纳米粉尘等离子体产生可再生能源的方法,其中应用了谐振腔和声学谐振器。在此过程中,将声波谐振器放置在谐振腔内,在2.000°c 的温度下,与由亚微米大小的碳尘、氢同位素和其他气体组成的复杂等离子体产生一系列声波谐振,从而在碳尘粒子表面产生振荡,从而在10 kHz-5 GHz 和太赫兹范围内振荡的等离子体极化子产生热量或电能,或产生一系列核反转。本发明是一种产生可再生热的实施例,由电磁场激发的腔谐振器(30)和声谐振器(10)形成。在具有若干声共振的声学谐振器(10)中,存在纳米级的尘埃粒子(1)。所述电磁谐振腔(30)为圆柱形、球形或矩形,内有镜状内壁(31),其中安装适当地由耐热和绝缘材料制成的圆柱形或球形声谐振腔(10)
来源:
https://operationdisclosure1.blogspot.com/2020/09/articles-qanon-bioterror-netflix.html


